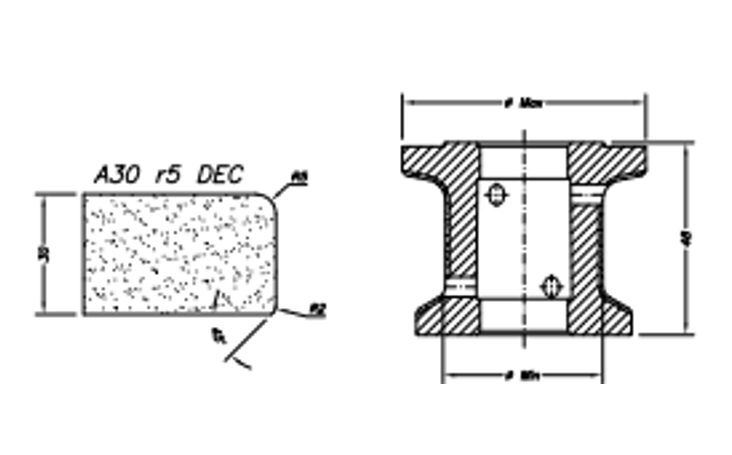
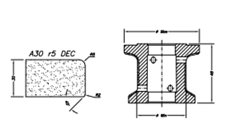
A30 R5 DEC (30mm R5 Eased Edge DEC) is a versatile and durable profiling tool designed for precision edge shaping. With a 30mm diameter and R5 eased edge, it delivers smooth, rounded finishes ideal for decorative applications. It's perfect for detailed work on countertops, tiles, and more, giving clean and consistent results every time.
This tool is available in two variants: Standard Kit for all common materials, and Electroplated Kit designed for soft stones and marble. Both kits offer high efficiency, ease of use, and long-lasting performance, making them ideal for professionals and DIYers alike.
Key Features:
30mm diameter with R5 eased edge
Available in standard & electroplated kits
Compatible with a variety of materials
Delivers smooth and precise edge finishes
Durable build for long-term use
